电机隔音装置设计技术简介
本技术涉及发动机技术领域,具体为一种电机隔音装置。
背景技术:
电机在使用过程中会产生巨大的噪音,而噪音的大小与工作环境以及电机本身的性能有一定联系,而现有在设备当中有针对电机噪音而解决的隔音装置,但是该种隔音装置大多采用的是普通的板材隔离电机的原理对电机进行简单的隔音处理,不能有效的提供隔音效果,同时体积庞大,不适用于狭小区域的使用。
振特振动电机
技术实现要素:
本技术的目的在于提供一种电机隔音装置,以解决上述背景技术中提出的问题。
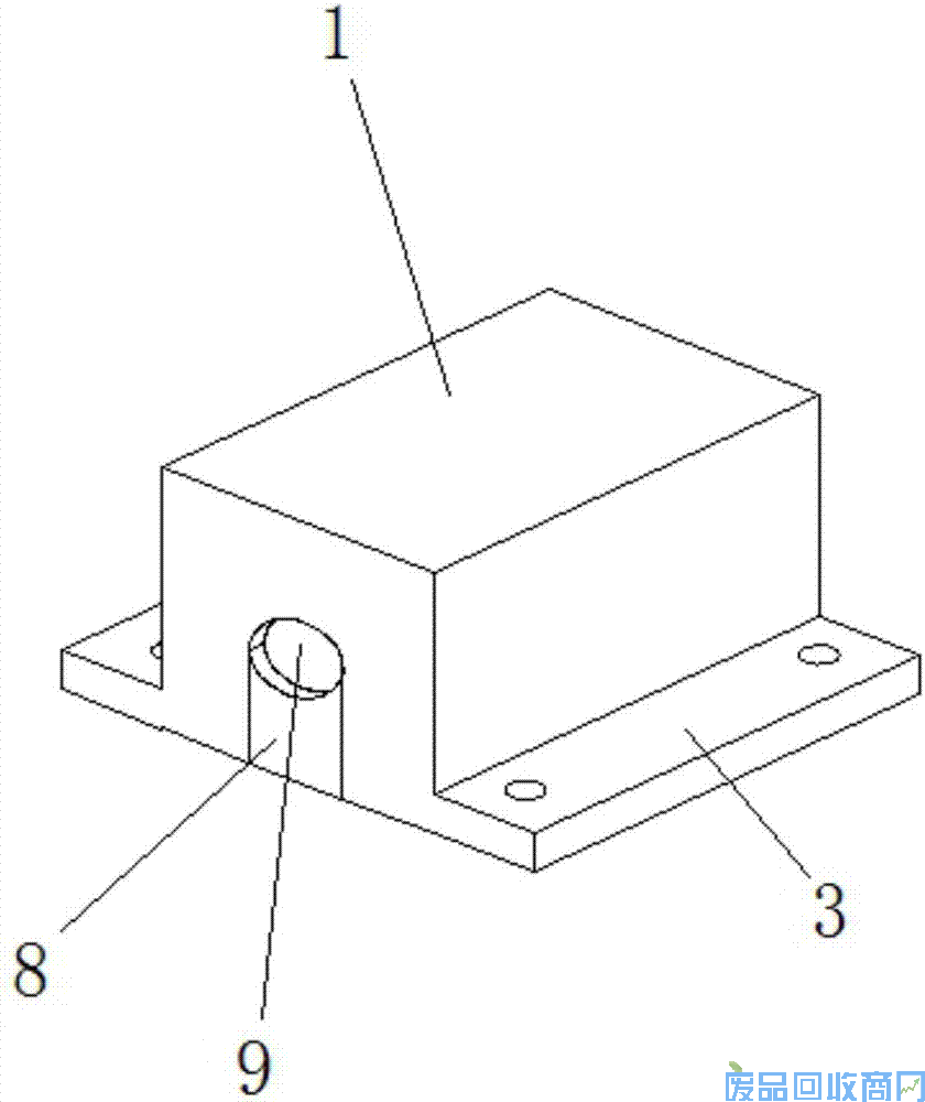
为实现上述目的,本技术提供如下技术方案:一种电机隔音装置,包括外壳主体和滑块,所述外壳主体的底部一侧固定连接有第一连接板,所述外壳主体的底部另一侧固定连接有第二连接板,所述第一连接板和第二连接板的端面均开设有定位孔,所述外壳主体的内部开设有内腔,所述外壳主体的前端开设有与内腔连通的通孔,所述通孔的下方设置有滑槽,所述滑槽的两侧内壁均开设有连接槽,所述滑块的上端面开设有弧面槽,所述滑块的一侧固定连接有第一滑轨板,所述滑块的另一侧固定连接有第二滑轨板,所述第一连接板和第二连接板的下端面均固定连接有第三隔音板,所述第三隔音板的下端面固定连接有橡胶板,所述外壳主体、第一连接板、第二连接板和滑块均在内侧固定连接有第一隔音板,所述第一隔音板的内侧固定连接有第二隔音板,所述第二隔音板的内侧固定连接有内层板。
优选的,所述通孔为圆形孔结构。
优选的,所述第一滑轨板和第二滑轨板均与连接槽滑动连接。
优选的,所述第一连接板与第二连接板为结构对称的长放形板材结构。
优选的,所述定位孔在第一连接板和第二连接板上个均匀排列设置有2个。
优选的,所述外壳主体为长方体结构。
与现有技术相比,本技术的有益效果是:该电机隔音装置结构合理,使用方便,占用空间小,通过外罩式结构设计可以有效的提高电机的隔音效果,同时使用了双层隔音材料,隔音效果更好,且该种隔音装置安装更加方便快捷,提高了其使用效率。
附图说明

图中:1外壳主体、2定位孔、3第一连接板、4内腔、5第二连接板、6连接槽、7滑槽、8滑块、9通孔、10第一滑轨板、11第二滑轨板、12弧面槽、13第一隔音板、14第二隔音板、15内层板、16橡胶板、17第三隔音板。

具体实施方式
下面将结合本技术实施例中的附图,对本技术实施例中的技术方案进行清楚、完整地描述,显然,所描述的实施例仅仅是本技术一部分实施例,而不是全部的实施例。基于本技术中的实施例,本领域普通技术人员在没有做出创造性劳动前提下所获得的所有其他实施例,都属于本技术保护的范围。
本技术的描述中,需要说明的是,术语“竖直”、“上”、“下”、“水平”等指示的方位或者位置关系为基于附图所示的方位或者位置关系,仅是为了便于描述本实用和简化描述,而不是指示或者暗示所指的装置或者元件必须具有特定的方位,以特定的方位构造和操作,因此不能理解为对本技术的限制。此外,“第一”、“第二”、“第三”、“第四”仅用于描述目的,而不能理解为指示或者暗示相对重要性。
本技术的描述中,还需要说明的是,除非另有明确的规定和限制,术语“设置”、“安装”、“相连”、“连接”应做广义理解,例如,可以是固定连接,也可以是可拆卸连接,或一体地连接,可以是机械连接,也可以是电连接,可以是直接连接,也可以是通过中间媒介相连,可以是两个元件内部的连通。对于本领域的普通技术人员而言,可以根据具体情况理解上述术语在本技术中的具体含义。
请参阅图1-5,本技术提供一种技术方案:一种电机隔音装置,包括外壳主体1和滑块8,所述外壳主体1为长方体结构,起到放置电机的作用,所述外壳主体1的底部一侧固定连接有第一连接板3,所述第一连接板3与第二连接板5为结构对称的长放形板材结构,起到固定外壳主体1的作用,所述外壳主体1的底部另一侧固定连接有第二连接板5,所述第一连接板3和第二连接板5的端面均开设有定位孔2,所述定位孔2在第一连接板3和第二连接板5上个均匀排列设置有2个,起到固定连接的作用,所述外壳主体1的内部开设有内腔4,所述外壳主体1的前端开设有与内腔4连通的通孔9,所述通孔9为圆形孔结构,起到与电机前端主轴配对的作用,所述通孔9的下方设置有滑槽7,所述滑槽7的两侧内壁均开设有连接槽6,所述滑块8的上端面开设有弧面槽12,所述滑块8的一侧固定连接有第一滑轨板10,所述第一滑轨板10和第二滑轨板11均与连接槽6滑动连接,起到滑动连接的作用,所述滑块8的另一侧固定连接有第二滑轨板11,所述第一连接板3和第二连接板5的下端面均固定连接有第三隔音板17,所述第三隔音板17的下端面固定连接有橡胶板16,所述外壳主体1、第一连接板3、第二连接板5和滑块8均在内侧固定连接有第一隔音板13,所述第一隔音板13的内侧固定连接有第二隔音板14,所述第二隔音板14的内侧固定连接有内层板15。
工作原理:
在对电机进行隔音前,先将电机放置在内腔4内,并使用滑块8连接入滑槽7内,使得电机的转轴部位连接在通孔9的位置,并完全包裹,然后通过第一连接板3和第二连接板5上的定位孔2将外壳主体1固定连接,该种隔音装置在材料上使用了第一隔音板13和第二隔音板14的双重结构设计,使得隔音效果更好,同时在第一连接板3和第二连接板5的底部采用了橡胶板16和第三隔音板17,在起到一定的隔音效果的同时也具有一定的减震效果。
尽管已经示出和描述了本技术的实施例,对于本领域的普通技术人员而言,可以理解在不脱离本技术的原理和精神的情况下可以对这些实施例进行多种变化、修改、替换和变型,本技术的范围由所附权利要求及其等同物限定。
技术特征:
1.一种电机隔音装置,其特征在于:包括外壳主体(1)和滑块(8),所述外壳主体(1)的底部一侧固定连接有第一连接板(3),所述外壳主体(1)的底部另一侧固定连接有第二连接板(5),所述第一连接板(3)和第二连接板(5)的端面均开设有定位孔(2),所述外壳主体(1)的内部开设有内腔(4),所述外壳主体(1)的前端开设有与内腔(4)连通的通孔(9),所述通孔(9)的下方设置有滑槽(7),所述滑槽(7)的两侧内壁均开设有连接槽(6),所述滑块(8)的上端面开设有弧面槽(12),所述滑块(8)的一侧固定连接有第一滑轨板(10),所述滑块(8)的另一侧固定连接有第二滑轨板(11),所述第一连接板(3)和第二连接板(5)的下端面均固定连接有第三隔音板(17),所述第三隔音板(17)的下端面固定连接有橡胶板(16),所述外壳主体(1)、第一连接板(3)、第二连接板(5)和滑块(8)均在内侧固定连接有第一隔音板(13),所述第一隔音板(13)的内侧固定连接有第二隔音板(14),所述第二隔音板(14)的内侧固定连接有内层板(15)。
2.根据技术要求1所述的一种电机隔音装置,其特征在于:所述通孔(9)为圆形孔结构。
3.根据技术要求1所述的一种电机隔音装置,其特征在于:所述第一滑轨板(10)和第二滑轨板(11)均与连接槽(6)滑动连接。
4.根据技术要求1所述的一种电机隔音装置,其特征在于:所述第一连接板(3)与第二连接板(5)为结构对称的长放形板材结构。
5.根据技术要求1所述的一种电机隔音装置,其特征在于:所述定位孔(2)在第一连接板(3)和第二连接板(5)上个均匀排列设置有2个。
6.根据技术要求1所述的一种电机隔音装置,其特征在于:所述外壳主体(1)为长方体结构。
技术总结
本技术公开了一种电机隔音装置,包括外壳主体和滑块,所述外壳主体的底部一侧固定连接有第一连接板,所述外壳主体的内部开设有内腔,所述外壳主体的前端开设有与内腔连通的通孔,所述通孔的下方设置有滑槽,所述滑槽的两侧内壁均开设有连接槽,所述第三隔音板的下端面固定连接有橡胶板,所述第一隔音板的内侧固定连接有第二隔音板,所述第二隔音板的内侧固定连接有内层板。该电机隔音装置结构合理,使用方便,占用空间小,通过外罩式结构设计可以有效的提高电机的隔音效果,同时使用了双层隔音材料,隔音效果更好,且该种隔音装置安装更加方便快捷,提高了其使用效率。
文章由 www.0zds.com 整理发布!
更多振动电机相关:www.zt188.net