问题:
双速电机与普通电机在结构上有什么区别
回答:
变极调速电机大都为鼠笼型转子电动机,其结构与基本系列三相异步鼠笼电动机相似,现国内生产的有双、三、四速等3类。
普通异步电机转子转速公式:n=60f/p,普通电机只有一种转速。
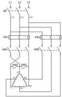
而变极双速电机就是通过改变电机中的定子绕组接法,达到改变磁极极对数的值实现变速。双速电机是内部绕组一般为4/6极(或:6/8极),且分别把绕组引出,通过接触器的控制来实现电机的两种转速转换。以4/6极双速电机接法为例:低速6极1000转(三角形接法),高速4极1500转同步速(双星形接法)

绕组不一样,双速电机的绕组要比普通电机的绕组要多些!
双速电机线槽里有两组线圈,通过特制的开关控制速度,普通电机就有一组线圈。这是主要区别。