超超临界燃煤发电机组具有煤耗低、技术含量高、环保性能好、节约资源的特点,必将是今后我国火电机组的发展方向。本文着重介绍HARSVERT—A多电平型高压变频在大唐乌沙山电厂600MW超超临界机组凝结水泵变频节能增效情况。结果表明,采用HARSVERT—A多电平型高压变频器对凝结水泵进行调速节能改造,具有投资省、见效快等特点,并能取得较好的节能效果。
1、引言
大唐乌沙山电厂位于象山县西周镇,电厂紧邻东海,为南方典型的海滨港口电厂。电厂一期工程为哈尔滨汽轮机厂四台600MW超超临界燃煤发电机组,于2006年4月至6日相继投入商业运行。自投产以来,机组各项运行指标良好。
2#机组600MW汽轮机配置2台100%容量的多级离心式凝泵,由定速电动机驱动。运行方式为一台运行,一台备用。采用凝结泵定速运行,系统存在以下问题:
l 阀门调整节流损失大、出口压力高、管损严重、系统效率低,造成能源的浪费。
l 当流量降低阀位开度减小时,调整阀前后压差增加工作安全特性变坏,压力损失严重,造成能耗增加。
l 长期10~40%低阀门开度,加速阀体自身磨损,导致阀门控制特性变差,并造成凝结水附近管道震动较大,对安全生产有极大影响。
l 管网压力过高威胁系统设备密封性能,严重时导致阀门泄漏,不能关严,凝结泵出口精处理器泄露等情况发生。
l 设备使用寿命短、日常维护量大,维修成本高,造成各种资源的极大浪费。
解决上述问题的重要手段之一是采用变频调速控制技术。利用高压变频器对凝结泵电机进行变频控制,实现除氧器水流量的变负荷调节。这样,不仅解决了控制阀调节线性度差、纯滞延大等难以控制的缺点,而且提高了系统运行的可靠性;更重要的是减小了因调节阀门孔口变化造成的压流损失,减轻了控制阀的磨损,降低了系统对管路密封性能的破坏,延长了设备使用寿命,维护量减小,改善了系统的经济性,节约能源,为降低厂用电率提供了良好的途径。
国家将能源利用效率列为重中之重,主要目标是到2010年单位GDP的能源消耗减少20%。其中,每1万元GDP标准煤消耗量应减少到0.98吨;单位GDP的能耗每年必需减至4.4%;单位工业附加值的水资源消耗必需减少30%;主要污染物排放应减少10%。为此,国家制定并实施了《节能中长期专项规划》,确定了“十一五”期间能耗降低目标。国资委和原国家环保总局就节能减排指标还分别与国内五大发电集团公司签订了责任状,将能源消耗纳入企业综合评价和年度考核,按照“一票否决”制,实施节能目标责任制和问责制。
大唐乌沙山电厂作为大唐集团的代表性企业,积极响应国家节能减排、建设节约型社会的重要政策,结合我厂节能改造活动,随着国产高压变频技术的日益成熟,而其改造成本的大幅降低使将凝结水泵由工频运行改为变频控制的趋势成为必然。
凝泵规范,如表1所示:
2、动力系统方案
结合我厂实际情况,最终确定我厂凝结水系统变频改造采用一拖二手动旁路方案。即配备一台高压变频器,通过切换高压隔离开关把高压变频器切换到要运行的凝结水泵上去。高压变频器可以拖动A凝结泵电动机实现变频运行,也可以通过切换拖动B凝结泵电动机实现变频运行。两侧凝结泵电动机均具备工频旁路功能,可实现任意一台电动机的变频运行,另外一台处于工频备用,当高压变频器故障时,系统可联锁另一台工频电机运行。

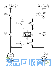
原理示意图
基本原理:它是由六个高压隔离开关QS1~QS6组成(见上图)。其中QS1和QS4,QS2和QS5有电气互锁;QS3和QS2,QS6和QS5安装机械互锁装置。如果两路电源同时供电,A凝泵工作在变频状态,B凝泵工作在工频状态时,QS3和QS4、QS5分闸,QS1、QS2和QS6处于合闸状态;B凝泵工作在变频状态,A凝泵工作在工频状态时,QS1和QS2、QS6分闸,QS3、QS4和QS5处于合闸状态;如果检修变频器,QS3和QS6可以处于合闸状态,其它隔离开关都分闸,两台负载可以同时工频运行;当一路电源检修时,可以通过分合隔离开关使任一电机变频运行。
当A凝结泵变频运行故障跳闸时,系统联锁起动B凝结泵QF2开关工频运行。当B凝结泵变频运行故障跳闸时,系统联锁起动A凝结泵QF1开关工频运行。
3、控制系统方案
3.1改造原则
凝结水泵变频改造要在保证除氧器水位调节品质不变,并可以在工作泵跳闸、低水压等特殊工况发生时保证机组正常运行前提下进行变频改造。改造利用现有的设备与系统,原来两个水位调节门全开以减小节流损失,当高压变频器跳闸后,备用凝结水泵以工频方式立即启动,将凝结水打至出口母管,以保证在变频器跳闸时除氧器水位的稳定。两个调整门的开度由当前实际负荷计算得出,而且在10秒钟时间内迅速关到指定位置,最低程度减小系统扰动,维持除氧器水位在正常范围内,保证机组运行。
3.2实际改造实施情况
变频器的启停通过闭合、断开变频方式下的凝结水泵的6kV开关来自动完成,也就是说运行人员在凝泵操作面板上按下凝泵操作面板的“启动”和“停止”按钮即可完成6kV开关的闭合、断开及变频器的启停控制。由于是一台变频器控制两台凝泵,所以同时只能有一台泵在变频方式下,另一台泵在工频方式,在逻辑中设计了凝泵的变频运行方式和工频运行方式,同时在原系统中分别增加了一套保护和一套联锁,即变频器重故障凝结水泵跳闸保护,变频器重故障备用泵联锁启动。
正常运行时一台凝结水泵变频运行,另外一台凝结水泵工频备用,运行人员可根据实际情况控制除氧器水位调节门开度,变频运行且投入自动,变频器通过输出频率的改变来调整凝结水泵的转速,从而通过控制凝结水泵到除氧器的上水量,保证除氧器水位稳定在运行人员的设定值范围内。当水位发生波动时,通过DCS组态中以凝结水流量、省煤器出口流量、除氧器水位三个参数构成的串级回路,输出转速指令至变频器,调整凝结水泵的上水量,以稳定除氧器水位。
当就地设备发生故障,例如变频器发“重故障报警”或者凝结水泵突然跳闸等故障发生时,当前凝结水泵的高压合闸开关断开,并闭合另外一台工频备用凝结水泵高压合闸开关,备用泵工频启动。变频器自动切换到“手动”方式,两个调节门自动切换到“自动”方式,当工频泵启动的瞬间,除氧器上水调整门开度仍然在较大开度,凝结水上水量会因此猛增,为防止除氧器水位超过规定值,两个调节门必须在最短的时间内关到合适的位置,所以逻辑设计了一旦变频器由于故障原因由自动切手动,调门在10秒钟时间内强制关到当前负荷要求的开度且投入到“自动”方式运行。这个开度也是工频正常运行时调整门的理想开度值。当调整门关到负荷计算值位置并且稳定后,从而完成整个凝结水变频故障的无扰切换。
4、冷却系统方案
由于变频器本体在运行过程中有一定的热量散失,为保证变频器具有良好的运行环境,需要为变频器配备独立的冷却系统。根据现场的实际情况,综合冷却系统的投资和运营成本、设备维护量、无故障运行时间,针对实际安装位置、发热总量、运营成本、施工费用等因素,此次变频改造采用了强制密闭式冷却方案。
为保障变频设备处于安全运行,避免环境温度和粉尘对设备的不利影响,在变频器功率柜侧独立增加密闭式强制冷却系统。该系统作为变频功率柜外的附属装置,能够保证变频功率柜始终处于25~40℃运行环境,大幅度延长滤网更换周期减少现场维护量。不需要为变频器再独立建筑房屋,变压器柜采用开放式冷却。强制冷却装置与变频器功率柜一体化设计,附着于功率柜顶部。制冷压缩机组安装于变频器柜附近。
强制密闭式冷却系统如下图所示:

通过实际运行,强制密闭冷却装置能够满足高压变频器运行过程中的散热需要,设备安装简便、快捷,热交换效率高。
5、节能效果分析
凝结水系统改造前、后在不同工况下凝结水泵及电机的实际运行参数如下:
以#2机组09年7月平均发电情况来测算: 机组月运行小时数为720小时,发电量为3.6亿千瓦时,平均负荷为500MW, 负荷率为83.3 %,使用变频器后电流减少95A,减少功耗为:
P′= UI′COSΦ
= × 6kV×95A×0.8
= 789.8 kW
7月份节电率为:
£= P′/P×100%
= × 6kV×95A×0.8/ × 6kV×172A×0.8
= 55.2%
按上网电价0.43元/kW·h, 每小时节约合人民币为:
¥′=789.8 kW×0.43元/kW·h=339.6元/h
7月份每台机组节约电费为:
¥=339.6元/h×720 h=24.45万元
同理,按年运行时间8000小时计算,全年80%时间负荷为500MW,20%时间负荷为300MW,计算出每台机组全年节约电费667.75万元。
根据上表中数据可以看出,机组负荷越小,采用变频调速后,凝结水泵电机电流的值越小,节能效果越显著。
6、结论
此次,600MW超超临界机组凝结水系统高压变频改造,新增变频设备安装布置在凝结水泵就近位置,节省了高压电缆和土建费用;冷却系统均采用强制密闭冷却结构设计,风路循环使用,粉尘小、环境稳定,受外界环境因素影响小,大大减低维修维护人员的工作强度。凝结水系统投入运行后各项测试性能指标良好:两个调整门截流噪音及震动明显减小,机组在300MW运行时,凝结水泵电机电流由原来的154A 最低降低到32A左右,节电率最大,可达79%,全年平均节电率为57%,节能效果十分明显,改造非常成功。
|