(一)松软及中软岩层中钻进用钻头
在这类岩层中钻进的特点是,压入硬度较小,可在较小的轴向压力下切入岩石;切入深度大,岩屑的颗粒也较大,但也较易分散成小粒;钻速较高,单位时间内产生的岩粉量大,要求钻头易于排粉。一般讲,这类岩层粘结性较大,容易发生糊钻或遇水膨胀等问题,因此需要大的环隙;岩层的研磨性较小,钻头可以选用锋利的切刃。这类岩层所用的钻头有:
1、肋骨钻头
主要用来钻进遇水膨胀、粘性大的软岩层。
根据肋骨的形式不同,肋骨钻头可分为:普通肋骨钻头和螺旋肋骨钻头两大类。
(1)普通三肋骨钻头(图2-2-18)。这种钻头切削具采用Ks73型或YG8、YG4C硬质合金,钻头外壁镶有3块肋骨,使水流畅通。3组肋骨片呈120°相交焊接在钻头体上,肋骨片底面同钻头唇面相齐,钻头水口为3个直角三角形。该钻头适用于钻进2~4级页岩、砂页岩、粉砂岩等较软岩层。
(2)三肋骨螺旋钻头(图2-2-19)。这种钻头切削具采用G8,K537型硬质合金镶焊而成。钻头体上焊有3片呈454角的螺旋肋骨片,顺旋转方向倾斜。肋骨片宽15~20mm、高35-50mm。适用于钻进1~5级较软岩层。钻进参数,钻压为6000-9000N,转速为200 ~250r/min,水量为150~200L/min。

(3)螺旋阶梯肋骨钻头(图2-2-20)。在钻头体上焊有呈阶梯状的螺旋肋骨。肋骨焊接牢固,钻头的非肋骨部分合金排列成一字形。中间合金起掏槽、扩大克取自由面作用。这种钻头适用于钻进3~5级岩石,如泥岩、粉砂岩等。
这种钻头在软硬岩互层中钻进时,可比普通硬质合金钻头大幅度地提高钻进效率和保证岩心采取率。
2、薄片硬质合金钻头
这种钻头适用于钻进粘结性较小的软岩。其特点是底出刃较大,适合于切削深度大的条件。其内、外出刃一般也较大,可确保有较大的环状间隙冲洗岩粉,切削刃尖锐锋利。这种钻头大多具有掏槽刃。
(1)菱形薄片硬质合金钻头。这种钻头出刃较大,掏槽刃更为超前,所以更适合于钻进偏软的岩石(图2-2-21)。

(2)斜角薄片硬质合金钻头。这种钻头的掏槽刃顺圆周镶焊,比横镶的菱形薄片掏槽刃有较大的抗弯能力。
(二)中硬及较硬岩石中钻进用硬质合金取心钻头
在这类岩石中钻进时的特点是,岩石脆性大、粘性小,排粉问题不很突出;钻进的主要矛盾是碎岩和磨损。岩石的压入硬度大,为了保证切削具切入岩石,需要有较大的轴向压力,因此切削具本身应有较大的抗压、抗弯的强度。在选择切削具及其排列和布局时,均应创造条件,使其有利于碎岩,有利于抗磨。
钻进这类岩石所用的钻头也有多种多样,使用比较广泛的是分环式和掏槽式两类。
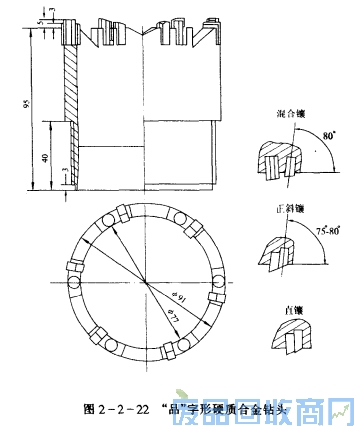
(1)品字形硬质合金钻头。把三颗硬质合金切削具焊成一组,呈“品”字形,中间镶T105型硬质合金切削具掏槽,两边镶T313型硬质合金切削具扩槽(图2-2-22)。这种钻头适用于钻进4~6级中硬岩石。如石灰岩、粗砂岩、大理岩等。

(2)燕尾补强钻头。这种钻头采用耶13型硬质合金切削具。其特点是每组切削具中单柱合金的底出刃较双柱合金的底出刃突出。单柱进行掏槽;双柱呈燕尾形,对岩石起扩大自由面(扩槽)的作用。钻头外周镶有补强合金,能有效地保持钻头外径,可延长钻头使用寿命(2-2-23)。这种钻头适用于钻进4--6级岩石,如砂页岩互层、砂质泥岩、粗砂岩和砂岩等。

(3)单双粒钻头(图2-2-24)。这种钻头镶YG4C K533型合金,适用于钻进5~6级及部分7级岩石。钻进参数:钻压700~880N,转速150~200r/rain,泵量120~150L/rain。单双粒钻头应用较广,是煤田钻进的主要钻头。
(4)双排列钻头(图2-2-25a)及三排列钻头(图2-2-2Sb)。
①双排列钻头。将钻头底唇面分成4~6组,每组按内外出刃规格计算,镶焊两粒YG8或YG4C K533、K534中、大八角柱状合金。适用于钻进5~6级岩石。钻进参数:钻压7840~11760N。转速150--200r/min,泵量80~120L/rain。
②三排列钻头。将钻头底唇面分成三等分,即三组。每组镶焊3粒YG8、YG4C K534型7×15、10×15八角柱状合金。适于钻进4~6级岩石。钻进参数:钻压5880~8820N,转速120~150r/min,泵量80~120L/min。