第一部分
1、概念
挂闸就是在汽轮机开机前,通过油压作用,使滑阀从下支点位置移到上支点位置,从而建立起油压,以实现以后的汽轮机冲转等工作。
2、目的
挂闸后,各个汽阀油缸下腔才能建立油压,DEH计算机部分才能控制液压执行机构部分,液压执行机构再控制各个汽阀开度,改变进汽量最后达到控制汽轮机转速和负荷。
3、挂闸方式
挂闸方式分为远方(DEH)挂闸和就地(机头)挂闸:

4、挂闸过程

5.挂闸原理
1)汽阀油动机下油缸油压建立

高压供油经伺服阀至油缸下腔(图中蓝线)要想在油缸下腔建立油压卸载阀必须关闭阻断油缸下腔至有压回油通路(图中红线)。滑阀上部的油压(遮断油)作用力加上弹簧力将大于滑阀下部高压油的作用力,将杯状滑阀压在底座上,使高压油与油缸有压回油相通的油门关闭,油动机油缸活塞下腔的高压油油压建立,因此我们必须建立危急遮断油。
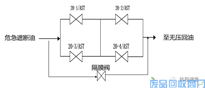
3)危急遮断油建立

危急遮断油是由AST电磁阀和隔膜阀控制的,只有将AST电磁阀和隔膜阀都关闭才能建立危急遮断油,也就是ETS复位和低压保安油复位,所以机组挂闸就是两次复位的过程。
6、ETS复位—AST电磁阀得电关闭:
1)AST电磁阀工作原理

AST电磁阀的工作过程,AST电磁阀带电,电磁阀带动阀芯下移,关闭高压供油HP的泄油通路(黄色指示),X腔的压力升高,为高压供油压力,它克服弹簧1的拉力,推动活塞向右移动,将AST危急遮断油的泄油通道堵塞(绿色指示),AST危急遮断油油压建立。AST电磁阀失电时,电磁阀阀芯在弹簧2的拉力作用下上移,打开高压供油HP的泄油通路,X腔的压力降低,不足以克服弹簧1的拉力,活塞在弹簧拉力的作用下左移,将AST危急遮断油的泄油通道打开,AST危急遮断油失压。
2)ETS复位操作就是要建立AST危急遮断油油压,由AST电磁阀工作原理可知ETS复位操作就是让AST电磁阀得电操作。
7、低压保安油复位—关闭隔膜阀:
1)隔膜阀工作原理

当低压保安油建立,油压大于弹簧力时,活塞下移将阀门关闭,阻断EH危急遮断油即汽机低压保安油复位;当油室油压小于弹簧力时活塞上移阀门打开,卸掉EH危急遮断油,机组跳闸。因此,要想让隔膜阀关闭必须建立低压保安油。
2)复位低压报安油

要想建立低压保安油我们只要将挂闸滑阀向左移动将泄油口堵住即可实现。让滑阀向左移动有两种途径:一种是人为就地扳动挂闸手柄至“复位”位,另一种是主控室CRT上DEH中点击“挂闸”按钮,使四通电磁阀带电打开有遥控复位汽缸下移使手柄至“复位”位。
图中有两个节流孔板,其作用如下:
节流孔板1作用:挂闸滑阀泄油口泄油时不会影响到大机润滑油系统,保证轴承润滑良好
节流孔板2作用:做注油试验时泄油量小,不会跳机。(来源热控课堂)
第二部分
挂闸就是机组安全油压建立的过程。只有安全油压建立起来,各油动机底部的油压才能建立起来(如不挂闸,油动机底部进的油就会克服卸载阀的弹簧从压力回油管泄掉),才能开启各油动机。一般的讲,挂闸分为两部分,而且是缺一不可的:一是机组挂闸,表现为隔膜阀上部有压力,一般的应高于0.4-0.5MPa,这个压力根据机组不同,压力整定也是不一样的,但是运行人员往往害怕跳机,因此将这个压力都提到0.7-0.8MPa,二是电气挂闸,就是通过电信号令OPC、AST阀关闭,一般是AST阀带电关闭,OPC阀失电关闭,如果你的危急遮断集成块上有压AST和OPC压力表,你可以通过压力来确定电气是否挂闸,否则你可用小铁线等在AST阀上试,如有磁性也可说明电气部分已挂闸。
挂闸之后的连贯动作---挂闸之前ast电磁阀处于关闭状态,opc电磁阀也是关闭状态,但是隔膜阀处于打开状态,ast母管有两个泻油口,一个是ast电磁阀,一个就是隔膜阀,所以ast母管是失压的,opc母管油压也为零,挂闸之后危急遮断器复位,隔膜阀上部油压建立,隔膜阀关闭,ast母管建立油压,堵住高中压主汽门油动机的快速卸载阀,卸载阀关闭,卸载阀堵住高压主汽门油动机的泻油口,opc母管油压也建立起来,堵住高中压调门的快速卸载阀的泻油口,卸载阀关闭,卸载阀也堵住高中压调门油动机的泻油口,挂闸之后中压主汽门由于没有侍服阀,eh油直接进入油动机下腔室,中压主汽门全开,其他的主汽门调门则处于准备开启状态。
打闸就是说将安全油泄掉,各汽阀已完全关闭,两样分就地打闸和盘上打闸,就地打闸和飞锤动作是一路,都是泄掉隔膜阀上部的压力油,表现为隔膜阀上无油压,而盘上打闸则是泄掉AST油压,两种打闸方式使用一种汽机即跳闸了。
打闸之后的连贯动作---停机信号发送到遮断电磁阀和ast电磁阀,遮断电磁阀打开,危急遮断器滑阀掉下来,隔膜阀的泻油口打开,隔膜阀打开,导致ast母管失压,同时ast电磁阀也会打开,导致ast母管失压,实现双重保护。ast母管失压,会导致高中压主汽门的快速卸载阀打开(高中压主汽门油动机下腔室油压失去,高中压主汽门关闭),也会导致opc母管失压,高中压调门的快速卸载阀打开,高中压调门关闭。
对于哈汽600MW机组而言
挂闸过程:
1、氢密封油泵和EH油泵运行,首先复位ETS,使AST电磁阀带电关闭。
2、DEH中点击挂闸汽轮机,复位危急遮断滑阀,建立挂闸油压及低压安全油,关闭隔膜阀,建立ASY油压,开启中压自动主汽门。
跳闸过程:
一、机械超速跳闸:撞击子飞出,超速遮断滑阀动作,使低压保安油和排油口接通,隔膜阀失去控制油弹簧力开启,AST油压和无压回油接通快速卸掉,同时OPC油通过单向阀快速卸掉,主汽门和调门快速卸荷阀动作卸掉油动机活塞下油压快速关闭。
二、就地手动停机:前箱处手动跳闸杠杆,手动跳闸滑阀动作,低压保安油和排油口接通,危急遮断滑阀动作,隔膜阀动作开启,AST及OPC油压卸掉,关闭主汽门及调门。
三、远方停机及主机保护动作(包括电超速及机械超速后备保护):通过ETS系统使AST电磁阀失电开启,AST油压卸掉,同时OPC油压卸掉,关闭所有汽门。
汽门调节:
汽门为单侧进油综合弹簧力调节,即开门依靠油动机活塞下腔进油,关闭依靠下腔适当排油并在弹簧复位力作用下关闭。(来源火力发电集控运行)
文章来源:汽机技术