第一部分 汽轮机挂闸讲义














第二部分 挂汽轮机闸过程讲解
1、概念
挂闸就是在汽轮机开机前,通过油压作用,使滑阀从下支点位置移到上支点位置,从而建立起油压,以实现以后的汽轮机冲转等工作。
2、目的
挂闸后,各个汽阀油缸下腔才能建立油压,DEH计算机部分才能控制液压执行机构部分,液压执行机构再控制各个汽阀开度,改变进汽量最后达到控制汽轮机转速和负荷。
3、挂闸方式
挂闸方式分为远方(DEH)挂闸和就地(机头)挂闸:

4、挂闸过程

5.挂闸原理
1)汽阀油动机下油缸油压建立

高压供油经伺服阀至油缸下腔(图中蓝线)要想在油缸下腔建立油压卸载阀必须关闭阻断油缸下腔至有压回油通路(图中红线)。滑阀上部的油压(遮断油)作用力加上弹簧力将大于滑阀下部高压油的作用力,将杯状滑阀压在底座上,使高压油与油缸有压回油相通的油门关闭,油动机油缸活塞下腔的高压油油压建立,因此我们必须建立危急遮断油。
3)危急遮断油建立

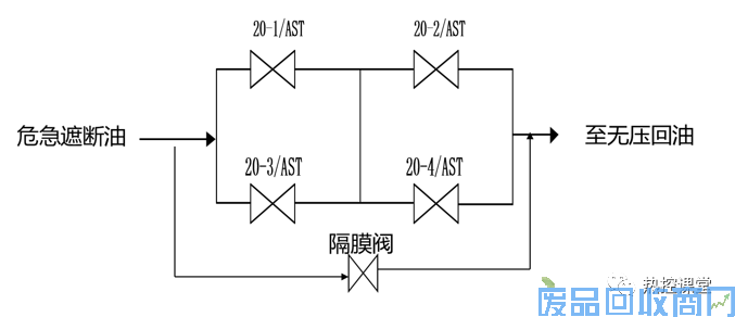
危急遮断油是由AST电磁阀和隔膜阀控制的,只有将AST电磁阀和隔膜阀都关闭才能建立危急遮断油,也就是ETS复位和低压保安油复位,所以机组挂闸就是两次复位的过程。
6、ETS复位—AST电磁阀得电关闭:
1)AST电磁阀工作原理

AST电磁阀的工作过程,AST电磁阀带电,电磁阀带动阀芯下移,关闭高压供油HP的泄油通路(黄色指示),X腔的压力升高,为高压供油压力,它克服弹簧1的拉力,推动活塞向右移动,将AST危急遮断油的泄油通道堵塞(绿色指示),AST危急遮断油油压建立。AST电磁阀失电时,电磁阀阀芯在弹簧2的拉力作用下上移,打开高压供油HP的泄油通路,X腔的压力降低,不足以克服弹簧1的拉力,活塞在弹簧拉力的作用下左移,将AST危急遮断油的泄油通道打开,AST危急遮断油失压。
2)ETS复位操作就是要建立AST危急遮断油油压,由AST电磁阀工作原理可知ETS复位操作就是让AST电磁阀得电操作。
7、低压保安油复位—关闭隔膜阀:
1)隔膜阀工作原理

当低压保安油建立,油压大于弹簧力时,活塞下移将阀门关闭,阻断EH危急遮断油即汽机低压保安油复位;当油室油压小于弹簧力时活塞上移阀门打开,卸掉EH危急遮断油,机组跳闸。因此,要想让隔膜阀关闭必须建立低压保安油。
2)复位低压报安油

要想建立低压保安油我们只要将挂闸滑阀向左移动将泄油口堵住即可实现。让滑阀向左移动有两种途径:一种是人为就地扳动挂闸手柄至“复位”位,另一种是主控室CRT上DEH中点击“挂闸”按钮,使四通电磁阀带电打开有遥控复位汽缸下移使手柄至“复位”位。
图中有两个节流孔板,其作用如下:
节流孔板1作用:挂闸滑阀泄油口泄油时不会影响到大机润滑油系统,保证轴承润滑良好
节流孔板2作用:做注油试验时泄油量小,不会跳机。
来源:汽机技术
大家都在看