汽轮机本体结构
汽轮机本体由转动部分(转子)和静止部分(静体或静子)两部分组成:
1. 转动部分:动叶片、叶轮(反动式汽轮机为转鼓)、主轴和联轴器及紧固件等旋转部件;
2. 静止部分:包括汽缸、蒸汽室、喷管、隔板、隔板套(反动式汽轮机为静叶持环)、汽封、轴承、轴承座、机座、滑销系统以及有关紧固零件等。

汽缸
汽缸的作用
汽缸是汽轮机的外壳,其作用是将汽轮机的通流部分与大气隔离,保证蒸汽在汽轮机内部完成能量转换过程,形成封闭的汽室。汽缸内安装着蒸汽室、隔板、隔板套等零部件,以外连接着进汽、排汽、抽汽等管道。
汽缸的结构
1. 汽缸多做成水平对分形式,即分为上、下汽缸,水平结合面用法兰螺栓连接。
2. 为了合理利用材料,还常以一个或两个垂直结合面而分为高压、中压、低压等几段。和水平结合面一样,垂直结合面亦通过法兰、螺栓连接,所不同的是垂直结合面通常在制造厂一次装配完毕就不再拆卸了,有的还在垂直结合面的内园加以密封焊。

高、中压缸双层缸结构
把原单层缸承受的巨大蒸汽压力分摊给内外两层缸,减少了每层缸的压差与温差; 内缸主要承受高温及部分蒸汽压力作用,故可做得较薄,则所耗用的贵重耐热金属材料相对减少。而外缸因设计有蒸汽内部冷却,运行温度较低,故可用较便宜的合金钢制造,节约优质贵重合金材料; 外缸的内、外压差比单层汽缸时降低了许多,因此减少了漏汽的可能,汽缸的严密性能够得到保障。


排汽缸
单缸汽轮机的低压段以及多缸汽轮机的低压缸,统称汽轮机的排汽缸。现代大功率凝汽式汽轮机,由于容积流量很大,因而排汽缸尺寸很大,排汽口数目往往不止一个。
由于排汽缸内承受的蒸汽压力、温度都比较低,它的强度一般没有什么问题。但是为充分利用排汽余速、减小流动损失,要求排汽缸有合理导流形状以及防止因刚度不足而产生变形等成了考虑的主要问题。

法兰和连接螺栓
汽缸内部承受很大的蒸汽压力,因此水平结合向的密封是—个非常重要的问题。高参数汽轮机汽缸所承受的压力很高(特别是高压缸),要保证水平结合面的汽密件,就必须采用很厚的法兰和排列很紧密、尺寸很大的连接螺栓。

汽缸的支承及滑销系统
1. 汽缸的支承要平稳,因其自重而产生的挠度应与转子的挠度近似相等,同时要保证汽缸受热后能自由膨胀,而其动、静部分同心状态不变或变动很小。
2. 汽缸的支承定位包括外缸在轴承座和基础台板(座架、机架等)上的支承定位,内缸在外缸中的支承定位,以及滑销系统的布置等。
汽缸的支承
汽缸的支承在基础台板上,基础台板又用地脚螺栓固定在基础上。汽缸的支承方法一般有两种:一种是汽缸通过猫爪支承在轴承座上,通过轴承座放置在台板上;另一种是用外伸的撑脚直接放置在台板上。
下缸猫爪支承
下汽缸水平法兰前后延伸的猫爪称下缸猫爪,又称工作猫爪(支承猫爪)。在高压缸的下缸前后各有两只猫爪,分别支承在高压缸前后的轴承座上。下缸猫爪支承又可分非中分面支承和中分面支承两种。

上缸猫爪支承
上汽缸的猫爪文承称作上缸猫爪支承,它采用中分面支承方式,上缸法兰延伸的猫爪(也称工作猫爪)作为承力面支承在轴承座上,其承力面与汽缸水平中分面在同一平面内。猫爪受热膨胀时,汽缸中心仍与转子中心保持—致。

排汽缸的支承和排汽缸喷水减温装置


滑销系统
汽轮机在启动、停机和运行时,汽缸的温度变化较大,将沿长、宽、高几个方向膨胀或收缩。由于基础台板的温度升高低于汽缸,如果汽缸和基础台板为固定连接,则汽缸将不能自由膨胀,所以汽缸要设置滑销系统来解决汽轮机运行中的自由膨胀的问题。
滑销系统通常由横销、纵销、立销、角销等组成。

喷管组及隔板的结构
喷管组
近代汽轮机较多采用喷管调节配汽方式,因此汽轮机的第一级喷管,通常都根据调节阀的个数成组布置,这些成组布置的喷管称为喷管组。它一般有两种结构形式:一种是中参数汽轮机上采用的由单个铣制的喷管叶片焊接而成的喷管组,另一种是高参数汽轮机上采用的整体铣制焊接而成或精密挠铸而成的喷管组。

隔板
1.隔板的作用是固定静叶片(喷管叶片)并将汽缸内间隔成若干个汽室。
2.冲动式汽轮机的隔板主要由隔板外缘、静叶片和隔板体组成。它可以直接固定在汽缸上或固定在隔板套上,通常都做成水平对分形式,其内园孔处开有隔板汽封的安装槽。





反动式汽轮机的静叶环和静叶持环
反动式汽轮机采用鼓式转子,动叶片直接安装在转鼓上,静叶环装在汽缸内壁或静叶持环上,所以该类型的机组没有叶轮和隔板,而采用静叶环和静叶持环结构。


汽封与轴封系统
1.为了减少蒸汽泄漏和防止空气漏入,需要有密封装置,通常称为汽封。汽封按其安装位置的不同,可分为通流部分汽封、隔板(或静叶环)汽封、轴端汽封。反动式汽轮机还装有高、中压平衡活塞汽封和低压平衡活塞汽封。
2.转子穿过汽缸两端处的汽封,简称轴封。


简单的轴封系统

125MW汽轮机轴封系统

轴封系统供气



轴承
1.轴承分为径向支持轴承和推力轴承两种类型,它们用来承受转子的全部重量,并确定转子在汽缸中的正确位置。
2.径向支持轴承用来承搁转子的重量和旋转的不平衡力,以保持转子旋转中心与汽缸中心一致,从而保证转子与汽缸、汽封、厢板等静止部分的径向间隙正确。
3.推力轴承承受蒸汽作用在转子上的轴向推力,并确定转子的轴向位置,以保证通流部分动静间正确的轴向间隙。所以推力轴承被看成转子的定位点,或称汽轮机转子对静子的相对死点。
轴承结构
(1) 支持轴承
支持轴承又称径向轴承或主轴承。主要形式有圆筒形轴承、椭圆形支持轴承、多油楔轴承及可倾瓦轴承等。
(2) 推力轴承
推力轴承的作用是确定转子的轴向位置和承受作用在转子上的轴向推力。
通常应用最广泛的推力轴承是密切尔式推力轴承,它是借助于轴承上的若干片瓦片与推力盘之间构成楔形间隙建立液体摩擦的


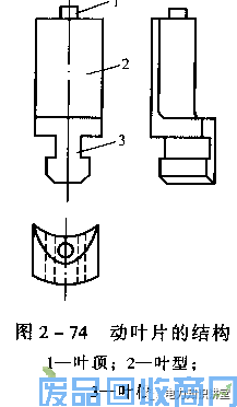
动叶片
1.动叶片安装在转子叶轮(冲动式汽轮机)或转鼓上,接受喷管叶栅射出的高速汽流,把蒸汽的动能转换成机械能,使转子旋转。
2.动叶片的工作条件很复杂,承受较高的静应力和动应力以外,还因其分别处于过热蒸汽区、两相过渡区(指从过热蒸汽区过渡到湿蒸汽区)和湿蒸汽区内工作而承受高温、高压、腐蚀和冲蚀作用。
3.叶片的结构一般由叶型、叶根和叶顶三部分组成。

转子
1.汽轮机转子可分为轮式转子和鼓式转子两种基本类型。
2.轮式转子装有安装动叶片的叶轮,鼓式转子则没有叶轮(或有叶轮但其径向尺寸很小),动叶片直接装在转鼓上。通常冲动式汽轮机采用轮式转子。
3.反动式汽轮机为了减小转子上的轴向推力,采用鼓式转子。


叶轮
1.冲动式汽轮机的转子上都有叶轮,用来装置动叶片并将叶片上的转矩传递到主轴上。
2. 叶轮由轮缘和轮面组成,安装式叶轮还有轮鼓。轮缘是安装叶片的部位,其结构取决叶根型式,轮毂是为了减小内孔应力的加厚部分;轮面将轮缘与轮毂连成一体。
3.高、中压级叶轮上通常开有5—7个平衡孔,以疏通隔板漏汽和平衡轴向推力。

联轴器
1.联轴器又叫靠背轮,用来连接汽轮机的各个转子以及发电机转子,并将汽轮机的扭矩传给发电机。
2.在多缸汽轮机中,如果几个转子合用一个推力轴承,则联轴器还将传递轴向推力;如果每个转子都有自己的推力轴承,则联轴器应保证各转子的轴向位移互不干扰,即不允许传递轴向推力。
3.联轴器通常有三种型式,即刚性联轴器、半挠性联轴器和挠性联轴器。

盘车装置
1.在汽轮机冲转前和停机后使转子转动,以避免转子受热和冷却不均而产生热弯曲。
2.盘车前盘动转子,可以检查动静部件间是否有摩擦、润滑油系统工作是否正常及主轴弯曲是否过大等,用来检查汽轮机是否具备正常启动条件。
3.按盘车转速高低,盘车装置可分为高速盘车和低速盘车两种。采用高速盘车时可以加快汽缸内的热交换,减小上、下缸之间及转子内部温差,缩短机组启停时间,并可以在轴承内较好的建立起油膜,保护轴颈和轴瓦。低速盘车时启动力矩小,冲击载荷小,有利于延长部件的使用寿命。


来源:电力知识课堂